SPF

Purlin Anchor

The SPF can be used to connect two timbers that cross over at 90 degrees to each other and can be used with a number of timber dimensions. The SPF are handed, left and right, and are sold separately.
Note: The brackets are manufactured in right and left versions and are sold individually.

CE Marking
ETA
Service class 2
Electrogalvanized steel 20 µm
EPD
Available in Connector Selector

Product Details

Features

Material

Steel quality:

S250GD + Z275 according to DIN EN10346

Corrosion protection:

275 g / m galvanized on both sides 20mm

Benefits

• Designed to withstand tensile loads, loads more possible in horizontal directions.
• Installation maybe 2 or 4 connectors for connection.
• Low number of nails, 1-hole line every foot.
• Variable installation

Application

Applicatons

Wood, wood products

Scope

• Wood / wood joints, especially in the intersecting roof structures

Note:
Clutch purlins and rafters in pairs
SPF ... R - coupling purlins and rafters - right
SPF ... L - coupling purlins and rafters – left

Technical Data

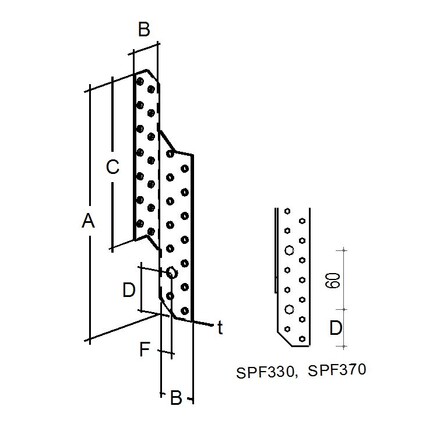
Dimensions

Product Dimensions

References Product Dimensions [mm] Holes Flange B Holes Flange E Box Quantity Weight [kg]
A B C E t Ø5 [mm] Ø5 [mm]
SPF290L29032.5220220222211000.21
SPF290R29032.5220220222211000.21
SPF370L37032.530030023029500.28
SPF370R37032.530030023029500.28

The types "SPF ...LR" is a pair of left and right version
The Type "SPF...L" is the left version
The type "SPF...R" is the right version

Performance Values

References Fasteners (Total) Characteristic Loads [kN]
R2,k R3,k = R4,k R5,k = R6,k
CNA4.0x50 CNA4.0x50 CNA4.0x50
SPF2902214.724.9
SPF3703014.724.9
  • Capacities are for one SPF
  • Published capacities are based upon a short term load duration, in service class 2
  • Capacity for connections with two SPF are double the capacity of one SPF

Installation

Installation

Fasteners

• They are attached CNA4,0xℓ nails or screws CSA5,0xℓ.

Certification

Declaration of Performance (DoP)

European Technical Assessment (ETA)

CAD and BIM Library

ZIP Packages

Buy from Distributor

No items available.

Contact

Simpson Strong-Tie U.K.

Simpson Strong-Tie

Cardinal Point, Winchester Road
Tamworth
Staffordshire
B78 3HG
United Kingdom