H2.5A
High Wind Tie
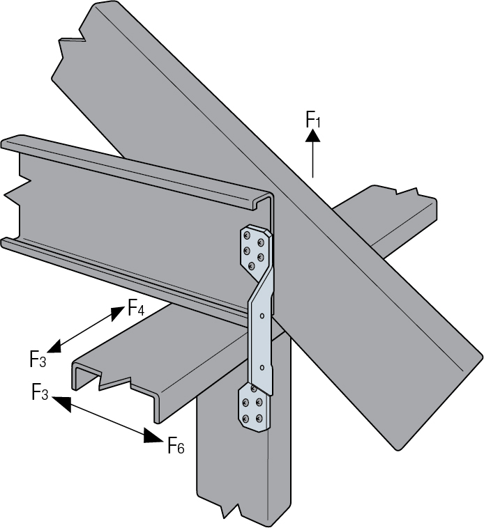
Designed to provide wind ties for trusses or joists, this versatile range of products may be used for general tie applications where one member crosses another.
Suitable for use in Timber to Timber, Light Gauge Steel to Light Gauge Steel or Timber to Light Guage Steel Connections
CE Marking
ETA
Service class 2
Indoor
Electrogalvanized steel Z275
Product Details
Images
Features
Material
Pre-galvanised mild steel: 275g/m2
Timber Applications
For Timber to Timber applications use H2.5A
LGS Applications
For Light Gauge Steel to Light Gauge Steel or Light Gauge Steel to Timber applications use the H2A or H3 Ties.
Technical Data
Product Dimensions
| References | Product Dimensions [mm] | Holes Flange C | Holes Flange D | Holes Flange E | Weight [kg] | |||||||||
|---|---|---|---|---|---|---|---|---|---|---|---|---|---|---|
| A | B | C | D | E | t | Ø3.9 | Ø4.3 | Ø3.9 | Ø4.1 | Ø4.3 | Ø3.9 | Ø4.1 | ||
| H2A | 38 | 265 | 89 | 89 | 87 | 1.1 | 5 | - | 5 | - | - | 2 | - | 0.095 |
| H2.5A | 35 | 150 | 55 | 55 | - | 1.2 | - | - | - | 5 | - | - | 5 | 0.049 |
Performance Values - Safe Working Loads
| References | Performance Values | |||
|---|---|---|---|---|
| Fasteners | Safe Working Loads [kN] | |||
| Flange C | Flange D | R2, SWL, ST | R3 = R4, SWL, ST | |
| Qty | Qty | N3.75x30 | N3.75x30 | |
| H2.5A | 5 | 5 | 2.3 | 0.5 |
- SWL's are for one anchor. A minimum rafter thickness of 63mm must be used when framing anchors are installed on each side of the joist and on the same side of the plate.
- When cross-grain bending or cross-grain tension cannot be avoided, mechanical reinforcement to resist all such forces should be considered.
Performance Values - LGS to LGS
| References | LGS to LGS Fasteners | LGS Performance Values - LGS to LGS [kN] | |||||||
|---|---|---|---|---|---|---|---|---|---|
| Steel Rafter | To Top Track | To Stud | Safe Working Loads | Characteristic Capacities | |||||
|
Qty (FPHSD34S1214) |
Qty (FPHSD34S1214) |
Qty (FPHSD34S1214) | R2,SWL | R3 = R4, SWL | R5 = R6,SWL | R2,k | R3 = R4,k | R5 = R6,k | |
| H2A | 5 | 1 | 5 | 2 | 0.4 | 0.4 | 3.2 | 0.6 | 0.7 |
Table Notes
- Performance values based upon attachment of Light Gauge Steel members having a minimum thickness 1.0mm
- Performance values are based upon tests completed by Simpson Strong-Tie U.S. in accordance to ICC-ES AC261 - Acceptance criteria for connectors used with Cold-Formed Steel Structural Members
Performance Values - Timber to LGS
| References | Timber to LGS Fasteners | LGS Performance Values - Timber to LGS [kN] | |||
|---|---|---|---|---|---|
| Timber Rafter | To Top Track | To Stud | Safe Working Loads | Characteristic Capacities | |
|
Qty (N3.75x30) |
Qty (FPHSD34S1214) |
Qty (FPHSD34S1214) | R2,SWL,ST | R2,k | |
| H2A | 5 | 1 | 5 | 2.5 | 3.9 |
Table Notes
- Performance values based upon attachment of Light Gauge Steel members having a minimum thickness 1.0mm
- Performance values are based upon tests completed by Simpson Strong-Tie U.S. in accordance to ICC-ES AC261 - Acceptance criteria for connectors used with Cold-Formed Steel Structural Members
Installation
Installation
Installation
Always use the specified number and type of fastener, as referenced in the performance tables, to achieve the stated performance values.
H2.5A may be installed in pairs to achieve twice the stated safe working loads.
Certification
Declaration of Performance (DoP)
uk-dop-e21-0482-02-s-2.pdf
(322.91 KB)
uk-dop-e21-0482-01.pdf
(144.96 KB)
European Technical Assessment (ETA)
eta-21-0482-2020-07-05-2.pdf
(1.67 MB)